近日,打假博主“蛙哥”发视频曝光“东北雨姐”带货的油污净缺斤少两,因该产品销售量高达186.9万件,有律师称,如果查实存在欺诈,按照“退一赔三”规定,“东北雨姐”或将面临上亿元天价赔偿。


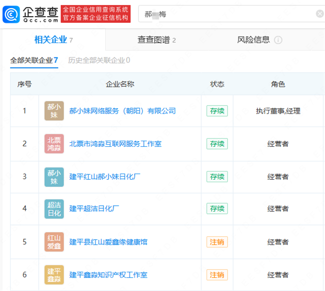
据悉,该产品生产商为河北洁如新日化有限公司,而其商标图案为“天淼 TIANMIAO”。企查查APP显示,河北洁如新日化成立于2023年7月,其年报显示公司社保缴纳人数为0。而天淼商标所属公司为建平红山郝小妹日化厂,其经营者名下还关联有建平鑫淼知识产权工作室(已注销)、郝小妹网络服务(朝阳)有限公司等。


(来源:企查查)
证件查询|免责声明|关于我们|主管:中国廉政法治研究中心主办:中廉法务网编辑部
中国互联网举报中心|北京互联网举报中心|北京网络行业协会|网络 110报警服务|不良节目举报|中国互联网协会|北京文化市场举报热线|首都互联网协会
©2023-2028 lzfzcn.cn 版权所有京ICP备2022016348号-2